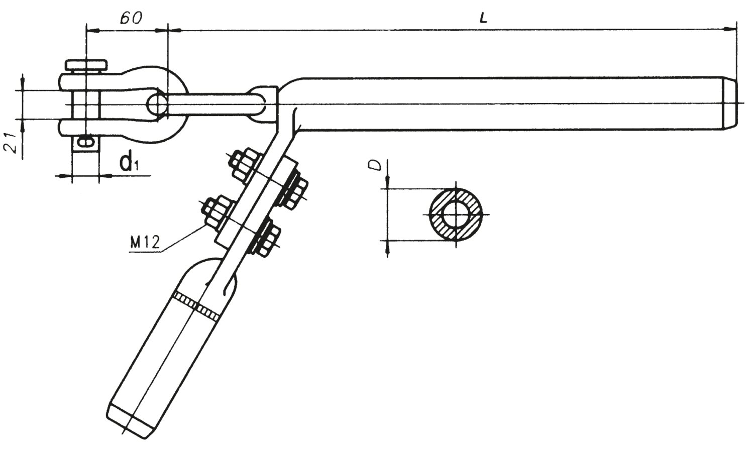
Uchwyt odciągowy zaprasowywany (2203)

Materiał:

  • Korpus i końcówka – aluminium
  • Części złączne, kabłąk, cięgło – stal cynkowana ogniowo

Zastosowanie: Do odciągowego zamocowania przewodów AFL.

Pobierz kartę produktu

Wyróżnik ZEMEX Wyróżnik handlowy D [mm] d1 [mm] L [mm] Zastosowanie do przewodu Masa [kg]
2203-070 2571 26 20 320 AFL 6-70 1,52
2203-070/1 25712 26 20 320 AFL 6-70/1 1,54
2203-120 2573 30 20 355 AFL 6-120 2,41
2203-240 2577 38 20 385 AFL 6-240 2,80
Wróć do indeksu
×

Niezbędne pliki cookies

Te pliki cookie są niezbędne do działania strony i nie można ich wyłączyć. Służą na przykład do utrzymania zawartości koszyka użytkownika. Możesz ustawić przeglądarkę tak, aby blokowała te pliki cookie, ale wtedy strona nie będzie działała poprawnie.

Zawsze aktywne

Analityczne pliki cookie

Te pliki cookie pozwalają liczyć wizyty i źródła ruchu. Dzięki tym plikom wiadomo, które strony są bardziej popularne i w jaki sposób poruszają się odwiedzający stronę. Wszystkie informacje gromadzone przez te pliki cookie są anonimowe.